Ferrari si patentovalo motor, ktorý popiera zdravý rozum. Poháňa ho vodík a odoláva gravitácii
Ferrari nikdy nebolo konzervatívnou automobilkou. Od plochých dvanástok cez ikonické vidlicové osemvalce až po pretekárske experimenty. Ak existuje koncepcia spaľovacieho motora, Maranello ju pravdepodobne aspoň vyskúšalo. No minulý rok automobilka podala patent, ktorý vyzerá ako čistá sci-fi. Opisoval vodíkový spaľovací motor otočený hore nohami, s kľukovým hriadeľom pri kapote a sviečkami pri ceste. Teraz prichádza ďalší patent, ktorý ukazuje, ako by sa tento absurdne komplikovaný nápad mohol premeniť na funkčnú realitu. Na tému upozornil CarBuzz.
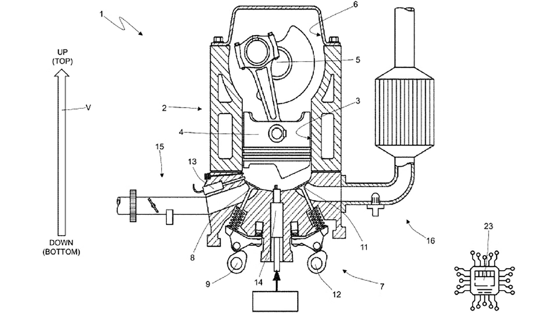
Ferrari tvrdí, že ušetrí priestor
Na prvý pohľad to pôsobí ako experiment, ktorý by si čakal skôr v univerzitnom laboratóriu než v športovom aute s logom spínajúceho sa koňa. Podľa Ferrari však invertovaná konštrukcia uvoľňuje zásadný priestor práve tam, kde ho vodíkové auto najviac potrebuje. Vodíkové tlakové zásobníky zaberajú enormne veľa miesta a každé získané litre sú v superšportiakoch cenné.
Predchádzajúce dva patenty riešili, ako takýto motor preplňovať. Jeden navrhoval mechanický kompresor, druhý turbá. Najnovší dokument však odhaľuje to najväčšie úskalie: ako prevrátený motor vôbec premazať tak, aby sa okamžite nezničil.

Olej tečie dole. Ale čo keď dole sú piesty?
V bežnom spaľovacom motore je všetko navrhnuté s ohľadom na gravitáciu. Olej je v spodnej vani, odkiaľ je čerpaný nahor na vačky a ložiská. Po splnení úlohy sa vracia späť dolu. Ferrari však obrátilo túto logiku naruby. Keď je kľukový hriadeľ navrchu, olej odteká presne opačným smerom, priamo do piestov.
Ak by takýto motor jednoducho zhasol, olej by cez piestne krúžky stekal do spaľovacieho priestoru. Výsledok by bol katastrofálny. Motor by po opätovnom štarte dymil, sviečky by sa topili v oleji a v extrémnom prípade by prišlo k situácii, keď sa piest snaží stlačiť nestlačiteľnú kvapalinu. Ako hovorí samotný text patentu, bolo by to „dramatické zlyhanie“.
Ferrari však tvrdí, že našlo riešenie. Použije suchú olejovú sústavu, pri ktorej je mazivo uložené mimo motora, a najdôležitejším prvkom sú elektricky poháňané olejové čerpadlá. Práve tie umožnia robiť trik, ktorý odporuje všetkému, čo o motoroch poznáme.
Olej zastaví ešte pred vypnutím motora
Kľúčom má byť postup vypínania motora. Elektronika údajne zastaví čerpadlo ešte skôr, ako motor úplne dobehne. Patent vysvetľuje, že približne sekundu pred vypnutím zapaľovania pošle riadiaca jednotka pokyn na prerušenie mazania. „Zvyčajne jednu sekundu, no v rozmedzí od 0,5 do 2,5 sekundy pred vypnutím, ECU nariadi olejovému čerpadlu zastaviť.“
Prúdenie oleja sa tak zastaví, zatiaľ čo kľuka sa ešte stále točí. Zvyšný olej rozmetie o steny bloku a odtiaľ steká do odtokov, ktoré ho vracajú do samostatnej nádrže. Vďaka tomu by sa minimalizovalo množstvo oleja, ktoré môže stiecť k piestom.
Ferrari verí, že vďaka rýchlemu dobehu motora nestratí agregát kritické mazanie. Jets umiestnené pod kľukovým hriadeľom by zase počas chodu zabezpečovali jeho olejový film.

Je to snaha vyriešiť problém, ktorý vznikol len preto, že sa automobilka rozhodla postaviť motor naopak. A doteraz nie je úplne jasné, o koľko priestoru takýto postup skutočne ušetrí. No Ferrari má dlhú históriu experimentov a veľmi úzku technickú spoluprácu so Shellom, čo im dáva priestor skúšať aj radikálne riešenia.
Či sa prevrátený vodíkový motor niekedy objaví v sériovom aute, je otázne. No ak niekto dokáže pretlačiť do reality niečo, čo pôsobí absolútne proti zdravému rozumu, je to práve Ferrari.
Čítajte viac z kategórie: Elektromobilita
Ďakujeme, že čítaš Fontech. V prípade, že máš postreh alebo si našiel v článku chybu, napíš nám na redakcia@fontech.sk.
Teraz čítajú

Konkurencia môže závidieť. WhatsApp dostal vynikajúcu funkciu

Najväčší film 2025 čoskoro bude online. Musí vyriešiť nepríjemný problém

Netflix potichu pridal do ponuky jeden z najlepších seriálov roka. Zbiera výborné ohlasy

Potvrdené: Najdrahší seriál histórie príde ešte tento rok, ukáže pád neporaziteľnej ríše

AI kríza 2027: Spoločnosti zoberú domácnostiam energiu, ľudia v panike inštalujú fotovoltiku
NAJČÍTANEJŠIE ZO STARTITUP

Pod Karpatami leží takmer 7 ton zlata a strategický kov. Zahraničná firma tu plánovala megaprojekt, narazila na odpor štátu
PREMIUMIrán už nehrozí len blokádou ropy. Expert pre Startitup varuje pred vážnymi následkami pre Európu

Alzheimer sa vyvíja 20 rokov v utajení. Bežná aminokyselina ho dokáže zasiahnuť už v zárodku

Znalec prehovoril o vražde akvokáta Valka: Pred smrťou vdychoval acetón, po výstrele urobil len dva kroky

Skrytý deficit jedného vitamínu trápi až 90 % ľudí. Môže skončiť život ohrozujúcim stavom, varujú odborníčky
- 24 hod
- 48 hod
- 7 dní
-
- Juiced Nomadix: Elektrická motorka, ktorá prepisuje pravidlá. Ponúka výkon 15 kW a cenu, ktorej konkurenti neuveria
- Hanba pre Európu. Jednu z našich najstarších automobiliek môže kúpiť Čína
- Objednalo si ho už 20-tisíc ľudí. Škoda začala s výrobou dostupného SUV, ponúkne solídny dojazd
- Svet urobil rozhodujúcu chybu. Odhalili dôvod, prečo sú čínske elektromobily také lacné
- Už ich nič nezachráni, zhodujú sa analytici. Spaľováky tvrdo prepadli na najväčšom trhu sveta
-
- Objednalo si ho už 20-tisíc ľudí. Škoda začala s výrobou dostupného SUV, ponúkne solídny dojazd
- Hanba pre Európu. Jednu z našich najstarších automobiliek môže kúpiť Čína
- Juiced Nomadix: Elektrická motorka, ktorá prepisuje pravidlá. Ponúka výkon 15 kW a cenu, ktorej konkurenti neuveria
- Je lacnejší a vhodný pre akýkoľvek elektromobil. Hyundai vyvinul prevratný pohonný systém
- Už ich nič nezachráni, zhodujú sa analytici. Spaľováky tvrdo prepadli na najväčšom trhu sveta
-
- Našli svätý grál elektromobilov. Nové batérie lusknutím prsta pošlú spaľováky do zabudnutia
- Objednalo si ho už 20-tisíc ľudí. Škoda začala s výrobou dostupného SUV, ponúkne solídny dojazd
- Hanba pre Európu. Jednu z našich najstarších automobiliek môže kúpiť Čína
- Volkswagen priznal realitu elektromobilov. Na benzínové autá stále nestačia
- Je lacnejší a vhodný pre akýkoľvek elektromobil. Hyundai vyvinul prevratný pohonný systém
Rusi opäť provokujú NATO. Úrady v európskom meste zatvorili školy
Dôležitý krok: Kia štartuje výrobu modernizovaného modelu na Slovensku
Európsky štát stavia obrovské batériové úložisko. Pomôže pri návale zelenej energie
Nový zdroj plynu pre Európu je spustený. Poľsko už odoberá surovinu zo severu
Zlá správa pre Slovensko. Minuli sme svoje prírodné zdroje na celý rok
Európa rieši riziko nedostatku paliva. Ohrozené môžu byť spoje na dovolenky
EÚ poriadne pritvrdila. Zakáže najnemorálnejšie aplikácie na trhu
NAJČÍTANEJŠIE ZO STARTITUP

Pod Karpatami leží takmer 7 ton zlata a strategický kov. Zahraničná firma tu plánovala megaprojekt, narazila na odpor štátu
PREMIUMIrán už nehrozí len blokádou ropy. Expert pre Startitup varuje pred vážnymi následkami pre Európu

Alzheimer sa vyvíja 20 rokov v utajení. Bežná aminokyselina ho dokáže zasiahnuť už v zárodku

Znalec prehovoril o vražde akvokáta Valka: Pred smrťou vdychoval acetón, po výstrele urobil len dva kroky

